ТД АНИОН

Аналитическое оборудование для
физико-химического анализа жидких сред

Телефон:
+7 (4812) 209-311
E-mail: info@td-anion.ru

О компании  |  Продукция  |  Прайс-лист  |  Техподдержка  |  Вопрос-Ответ  |  Контакты  |  Доставка

 

Главная / Каталог / Анализаторы различные / АН-7101

АН-7101 анализатор натрия промышленный

Цена по запросу


АН-7101 анализатор натрия промышленныйАнализатор натрия промышленный АН-7101 предназначен для измерения показателя активности (pNa) и массовой концентрации (cNa) ионов натрия в химически обессоленной воде и конденсате пара котлов высокого давления и турбин, а также для контроля за состоянием Н+ -катионитовых фильтров.

Особенности:

- В анализаторе предусмотрено измерение температуры анализируемой жидкости и показателя активности ионов водорода (pH), характеризующего эффект автоматического подщелачивания анализируемой жидкости в ячейке реагентом.

- Анализатор обеспечивает цифровую индикацию и графическое отображение измеренных параметров, их преобразование в унифицированные выходные токовые сигналы, обмен данными с компьютером по интерфейсу RS-485, сигнализацию и архивирование измеренных параметров.

- Анализатор изготовлен в корпусе из ударопрочного полистирола и размещается на гидропанели ГП-7101 из нержавеющей стали.

Области применения

Анализатор применяется при контроле процессов химводоподготовки в энергетике: ТЭЦ, ГРЭС, АЭС и технологических установках водоочистки.

Технические характеристики

Наименование

Значение

Диапазон измерения pNa

(2,36... 8,36) pNa

Диапазон измерения cNa

(0..200), (0,1...100000) мкг/дмЗ

Диапазон измерения pH

(0...14) pH

Диапазон температуры анализируемой жидкости

(10... 50) °С

Диапазон измерения расхода жидкости

(0,9...48) л/ч

Предел допускаемого значения основной абсолютной погрешности при измерении pNa, не более

±0,05 pNa

Предел допускаемого значения основной абсолютной погрешности при измерении pH, не более

±0,1 pH

Предел допускаемого значения основной абсолютной погрешности при измерении температуры

±0,3 °С

Параметры выходных сигналов:

два токовых, программируемых

(0...5), (0...20), (4...20) мА

цифровой

RS-485, протокол обмена ModBus RTU

восемь дискретных (с выносным блоком БВД-8)

переключающий «сухой контакт», 240 В, 3 А

Интервал записи в архив

1 с

Время архивирования

до 1 года

Тип индикатора

жидкокристаллический графический

Напряжение питания

220 В,50 Гц

Потребляемая мощность, не более

15 ВА

Защита от пыли и воды по ГОСТ 14254

IP65

Климатическое исполнение

УХЛ4, но при Т=(+5..+50) °С

Устойчивость к механическим воздействиям по ГОСТ Р 52931

N2

Масса

не более 1,6 кг

Аксессуары:

- pNa-электрод ЭС-10-70-07, ЗИП г. Гомель;

- pNa-электрод Э ЛИС 212 Na, ИТ г. Москва;

- pNa-электрод, комбинированный, NAB1502, В&С Electronic, Италия;

- рН-электрод, комбинированный, ASP3151;

- арматура погружная;

- гидропанель ГП-7101.

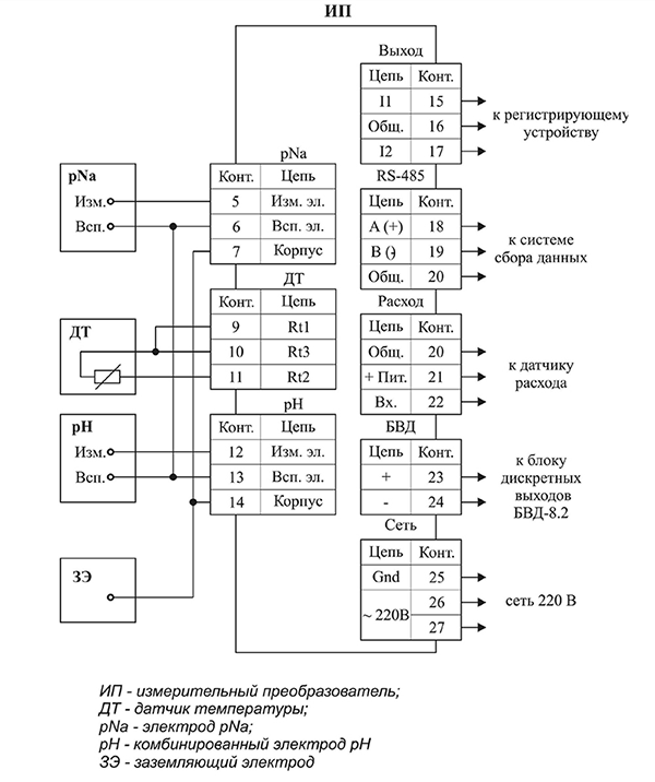
Схема внешних соединений

АН-7101 анализатор натрия промышленный

Это интересно:

Солемер. Промышленный солемер. Лабораторный солемер.
Применение и принцип действия солемера.

Карта сайта

ПОИСК




Каталог продукции

Информация

Оцените нашу работу

Получено оценок:

Хорошо | 7 чел.

Удовл. | 1 чел.

Плохо | 4 чел.


Как связаться

Тел./факс:(4812) 209-305
(4812) 209-306
(4812) 209-307
(4812) 209-308
(4812) 209-310
(4812) 209-311
E-mail: info@td-anion.ru



Полезные ссылки




Политика конфиденциальности



Яндекс.Метрика